All Ball Gages Information Page

Ball Plug Gages, Precision

Ball Gages Assortment
Ball Gage Assortment

The balls are made From Hardened Chrome Alloy Steel 62 HRC. or Tungsten Carbide and other materials are made on Special Order.

Ball Gages, Single and Double ended, Go and NoGo gages
Ball Gage Assortment

Precision balls make a first-rate inspection tool, but loose balls are very hard to work with. This problem is solved by attaching a handle to the ball. Delivery can be made in just a few days. With over 30,000 different lots of special balls in stock, most Ball Plug Gages only require installing a stem and shipping.

The heat applied when attaching the stem by soldering, brazing or welding will invariably cause a dramatic change in the size and roundness of the ball, along with a large drop in the hardness. These Ball Plug Gages are produced by an entirely different process which completely avoids these problems: The stem is attached by gluing it into a deep hole that has been produced by Electrical Discharge Machining (EDM). This method holds the ball rigidly without causing any distortion or loss in hardness.

Two Ball Plug Gages are frequently used in Go, No-Go combinations mounted on a common handle. All Ball Plug Gages are supplied with handles which meet American Gage Design Standards, unless otherwise specified.

Measuring inside diameters, the space between two surfaces and the width of grooves are one of the broadest applications for Ball Plug Gages.

The Ball Plug Gage has a unique advantage over conventional inspection methods. Its spherical shape provides a self-centering line of contact that can be inserted into a hole at any angle.

The ball will not stick or bind, allowing it to be used to measure bell mouth and taper.

The Ball Plug Gage is excellent for use in confined areas even when the actual hole or groove being measured cannot be seen by the inspector. A feature buried down in a hole or inside a cavity can often be measured by putting a bend in the stem of the Ball Plug Gage.

The Ball Plug Gage is at its best when used to measure holes which have a constant diameter but are not straight--Piping and Tubing for instance. A variation of the ball gage concept is to mount the ball on a flexible wire so it can actually go around corners. The ball can be put in the middle of a long wire and pulled in either direction.

By machining two flats on the ball, the Ball Plug Gage can be used to actually measure out-of-round holes. Ball Plug Gages that have two flats on both members are used to gage the inside spherical surfaces of rod end bearings.

The precision Ball Plug Gage makes a radius gage of unparalleled accuracy. By applying a thin coat of oil-base Prussian Blue to the Ball Plug Gage, it becomes a very effective method for checking spherical and toroidal surfaces. When the blued ball gage is brought into contact with the test part, it will leave a telltale blue mark at the points of contact.

These gages are also widely used to measure the pitch diameter of bearing races, threaded surfaces and of gears.

The location of holes, internal and external grooves and various machined details are other common uses for the Ball Plug Gage.

During our fifty-plus years in the custom ball business, we have produced a vast array of ball gage designs. Call us for unique configurations that will help you do a better inspection job.

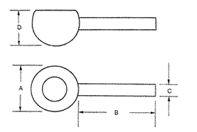
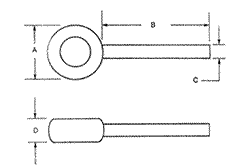
Ball Plug Gage, Hardened

Ball Plug Gage

An American Gage Design Standard(A.G.D.S.) handle is supplied at no additional cost.

"A" - The standard size tolerance for the ball is ± .0001" (±.00254 mm). The roundness or sphericity of the ball is 25 millionths of an inch (.000635 mm) maximum. The surface finish of the ball is less than 1.5 microinches (38 NM) Ra. Finer tolerance can be supplied on special order.
"B" - The stem length listed is standard, any stem length up to 6" (152.4 mm) will be provided at no additional cost.
"C" - The diameter listed is standard, any reasonable diameter will be supplied at no additional cost.
A-Diameter
Ball Size
B-Dimension
Stem Length
C-Dimension
Stem Diameter
Prices
1 - 5 Pieces 6 - 10 Pieces Over 10 Pieces
Under .050" Requires a Special quote
.05" - .5"
(1.3 mm - 12.7 mm)
3.0"
(76.2 mm)
0.032"
(.813 mm)
$78.00 double $70.80 double $64.32 double
$45.00 single $40.40 single $37.16 single
.5001" - .594"
(12.7 mm - 15.09 mm)
3.0"
(76.2 mm)
0.187"
(4.75 mm)
$79.30 double $79.30 double $79.30 double
$45.65 single $45.65 single $42.65 single
.5941" - .750"
(15.09 mm - 19.05 mm)
3.0"
(76.2 mm)
0.187"
(4.75 mm)
$81.26 double $79.30 double $79.30 double
$46.63 single $46.63 single $46.63 single
.7501" - 1.00"
(19.05 mm - 25.4mm)
3.0"
(76.2 mm)
0.250"
(6.35 mm)
$84.72 double $82.72 double $82.72 double
$47.36 single $47.36 single $47.36 single
Over 1" Requires a Special Quote

The Ball Plug Gage uses science to measure

  • A Ball Plug Gage will measure the true cylindrical diameter of any hole.
  • The Ball Plug Gage will measure the cylindrical diameter of a hole absolutely.
  • If the Ball Plug Gage goes through a hole, we know that the hole diameter is at least as large as the ball that passes through it.
  • A lack of cylindrisity does not influence the Ball Plug Gages ability to measure true cylindical diameter. Even if a cylindrical hole is bent or cambered, a ball gage will still faithfully measure the true cylindrical diameter of that hole.

Ball Plug Gage With One Flat Side

Ball Plug Gage With One Flat
An A.G.D.S. handle is supplied at no additional cost. ( American Gage Design Standard)
"A" - The standard size tolerance for the ball is ± .0001" (± .00254 mm) The roundness or sphericity of the ball is 25 millionths of an inch (.000635 mm) maximum. The surface finish of the ball is less than 1.5 microinches (38 NM) Ra. Finer Tolerance can be supplied on special order.
"B" - The stem length listed is standard, any stem length up to 6" (152.4 mm) will be provided at no additional cost.
"C" - The diameter listed is standard, any reasonable diameter will be supplied at no additional cost.
FLAT - The dimension of the flat will be produced to your requirement. The standard tolerance for the flat is ± .002" (± .0508 mm), but a closer tolerance can be held for a small additional charge.
A-Diameter Ball Size B-Dimension
Stem Length
C-Dimension
Stem Diameter
Prices
1 - 5 Pieces 6 - 10 Pieces Over 10 Pieces
Under .050" (1.3 mm) Requires a Special Quote
0.050" - 0.5"
(1.3 mm - 12.7 mm)
3.0"
(76.2 mm)
0.032"
(.813 mm)
$95.00 double $86.10 double $78.09 double
$53.50 single $49.05 single $45.05 single
0.5001" - 0.594"
(12.7 mm - 15.09 mm)
3.0"
(76.2 mm)
0.187"
(4.75 mm)
$96.30 double $87.27 double $79.15 double
$54.15 single $49.64 single $45.58 single
.5941" - 1.0"
(15.09 mm - 19.05 mm)
3.0"
(76.2 mm)
0.187"
(4.75 mm)
$98.26 double $84.72 double $84.72 double
$55.13 single $48.36 single $48.36 single
Over 1" Requires a Special Quote

Ball Plug Gage with Two Parallel Flats

Ball Plug Gage With Two Parallel Flats
An A.G.D.S. ( American Gauge Design Standard ) handle is supplied at no additional cost.
"A" - The standard size tolerance for the ball is ± .0001" (± .00254 mm) The roundness or sphericity of the ball is 25 millionths of an inch (.000635 mm) maximum. The surface finish of the ball is less than 1.5 microinches (38 NM) Ra.Finer Tolerance can be supplied on special order.
"B" - The stem length listed is standard, any stem length up to 6" (152.4 mm) will be provided at no additional cost.
"C" - The diameter listed is standard, any reasonable diameter will be supplied at no additional cost.

FLAT - The dimension of the flat will be produced to your requirement. The standard tolerance for the flat is ± .002" (± .0508 mm) but a closer tolerance can be held for a small additional charge.
A-Diameter
Ball Size
B-Dimension
Stem Length
C-Dimension
Stem Diameter
Prices
1 - 5 Pieces 6 - 10 Pieces Over 10 Pieces
Under .050" Requires Special Quote
.050" - 0.5"
(1.3 mm - 12.7 mm)
3.0"
(76.2 mm)
0.032"
(.813 mm)
$113.00 double $102.30 double $92.67 double
$ 62.50 single $ 57.15 single $52.34 single
0.5001" - 0.75"
(12.7 mm - 19.05 mm)
3.0"
(76.2 mm)
0.187"
(4.75 mm)
$114.30 double $105.24 double $95.32 double
$ 63.15 single $ 57.74 single $ 52.86 single
.7501" - 1.00"
(19.05 mm - 25.4 mm)
3.0"
(76.2 mm)
0.250"
(6.35 mm)
$119.72 double $108.35 double $98.11 double
$ 65.86 single $ 60.18 single $ 55.06 single
Over 1" Requires a special quote

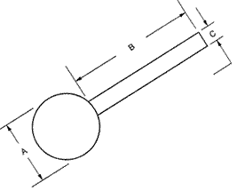
Ball Plug Gage with a Bent Stem

Ball Gage with a Bent Stem, Measuring a Hole
A Bent Stem Ball Gage is Used to Measure a "Hard To Get To" Internal Cavity.
Ball Gage With A Bent Stem
An A.G.D.S. ( American Gage Design Standard ) handle is supplied at no additional cost.
"A" - The standard size tolerance for the ball is ± .0001" ( ± .00254 mm ) The roundness or sphericity of the ball is 25 millionths of an inch (.000635 mm) maximum. The surface finish of the ball is less than 1.5 microinches ( 38 NM ) Ra.Finer Tolerance can be supplied on special order.
"B" - The stem length listed is standard, any stem length up to 6" ( 152.4 mm ) will be provided at no additional cost.
"C" - The diameter listed is standard, any reasonable diameter will be supplied at no additional cost.
"D" - The angle of the Bend is held within ±2 degrees standard. Finer tolerance will require a special bid.
A-Diameter
Ball Size
B-Dimension
Stem Length
C-Dimension
Stem Diameter
D-Angle
± 2 Degrees
Prices
1 -5 Pieces 6 - 10 Pieces Over 10 Pieces
Under .050" ( 1.27 mm ) Requires Special Quote
.050" - 0.5"
(1.3 mm - 12.7 mm)
3.0"
(76.2 mm)
0.032"
(.813 mm)
± 2 Degrees $95.00 double $86.10 double $78.09 double
$53.50 single $49.05 single $45.05 single
.5001" - .594"
(12.7 mm - 15.09 mm)
3.0"
(76.2 mm)
0.187"
(4.75 mm)
± 2 Degrees $96.30 double $87.27 double $79.15 double
$54.15 single $49.64 single $45.58 single
.5941" - .750"
(15.09 mm - 19.05 mm)
3.0"
(76.2 mm)
0.187"
(4.75 mm)
± 2 Degrees $98.26 double $89.03 double $80.73 double
$50.52 single $50.52 single $46.37 single
0.7501" - 1.0"
(19.05 mm - 25.4 mm)
3.0"
(76.2 mm)
0.187"
(4.75 mm)
± 2 Degrees $99.72 double $90.15 double $81.53 double
$54.86 single $50.08 single $45.77 single
Over .750" Requires a special quote

A.F.B.M.A. Ball Grades

Grade Allowable Ball Diameter Variation Deviation From Spherical Form Surface Roughness Arithmetical Average Basic Diameter Tolerance Allowable Lot Diameter Variation
3 3 µ"
.000003"
3 µ"
.000003"
.5 µ"
.0000005"
30 µ"
±.00003"
5 µ"
.000005"
5 5 µ"
.000005"
5 µ"
.000005"
.8 µ"
.0000008"
50 µ"
±.00005"
10 µ"
.00001"
10 10 µ"
.00001"
10 µ"
.00001"
1.0 µ"
.000001"
100 µ"
±.0001"
20 µ"
.00002"
15 15 µ"
.000015"
15 µ"
.000015"
1.0 µ"
.000001"
100 µ"
±.0001"
30 µ"
.00003"
16 16 µ"
.000016"
16µ"
.000016"
1.0 µ"
.000001"
100 µ"
±.0001"
32 µ"
.000032"
24 24 µ"
.000024"
24 µ"
.000024"
2.0 µ"
.000002"
100 µ"
±.0001"
48 µ"
.000048"
25 25 µ"
.000025"
25 µ"
.000025"
2.0 µ"
.000002"
100 µ"
±.0001"
50 µ"
.000048"
48 48 µ"
.000048"
48 µ"
.000048"
3.0 µ"
.000003"
200 µ"
±.0002"
96 µ"
.000096"
50 50 µ"
.000050"
50 µ"
.000050"
3.0 µ"
.000003"
300 µ"
±.0003"
100 µ"
.0001"
100 100 µ"
.0001"
100 µ"
.0001"
5.0 µ"
.000005"
500 µ"
±.0005"
200 µ"
.0002"
200 200 µ"
.0002"
200 µ"
.0002"
8.0 µ"
.000008"
1000 µ"
±.001"
400 µ"
.0004"
300 300 µ"
.0003"
300 µ"
.0003"
  1000 µ"
±.001"
600 µ"
.0006"
500 500 µ"
.0002"
500 µ"
.0002"
2000 µ"
±.002"
2000 µ"
±.002"
1000 1000 µ"
.001"
1000 µ"
.001"
  2000 µ"
±.002"
2000 µ"
±.002"
2000 2000 µ"
.002"
2000 µ"
.002"
5000 µ"
±.005"
2000 µ"
±.002"
3000 3000 µ"
.003"
3000 µ"
.003"
  5000 µ"
±.005"
6000 µ"
±.006"
Allowable Ball Diameter Variation
is the largest variation in diameter found in any one ball from the sample lot inspection.
Allowable Deviation From Spherical Form
greatest radial distance in any radial plane between a sphere circumscribed around the ball surface and any point on the ball surface.
Surface Roughness
is all those irregularities which form the surface relief but are not deviations of form or waviness. The measurement of this characteristic is to be made with equipment meeting the requirements of and in accordance with Standard ANSI B46.1.
Basic Diameter Tolerance
is the maximum allowable deviation in any ball mean diameter from the basic diameter ordered.
Allowable Lot Diameter Variation
is the difference between the mean diameter of the largest ball and that of the smallest ball in the lot.

Gage Makers Tolerance

Information will follow soon

The Balwand™

Ball Gage with Two Parallel Flats
Hardened Chrome Alloy Steel Balls 62 HRC

A new form of ball gage is the Balwand™ . This simple straight-forward device is very accurate. It measures the distance or gap between two surfaces.

The Balwand™ consists of a long slender shaft or wand attached to a gage ball. The gage ball has at least one flat surface ground on it. This flat is ground parallel to the shaft. In application, the flatted area on the ball is inserted between the two elements to be measured. Unless otherwise stated any ball .300" and smaller will have a flat one third the size of the ball. If the ball size is over .300" the flat will be .100".

Attempt to rotate the ball. If the ball turns without sticking, then the space between the parts is greater than or equal to the diameter of the ball. If the ball sticks and won't turn freely, then the distance separating the two parts is less than the diameter of the ball. In practice, one of the two surfaces is often a reference datum such as a surface plate or precisely machined jig. The part to be inspected is separated from the reference datum by precision spacers or machined bosses.

The Balwand™ can be used for many tooling and inspection applications including checking the flatness of large parts, the position of cores in mold setting operations, and the final shape of intricate castings or machined parts. By using two Balwands™ of the proper diameters, a GO and NO-GO ball gage can be created. An American Gage Design Standard ( A.G.D.S. ) handle is supplied with each Balwand™ at no additional cost.

The Ballwand
The Balwand
Part # "A" Diameter
±.0001" (.00254 mm)
"B" Length Standard "C" Dia. - Standard Prices
1 - 5 Pieces
BW- plus exact
size of the ball
0.1501" - 0.5"
(3.813 mm - 12.7 mm)
12"
(305 mm)
0.093"
(2.36 mm)
$95.00 ea.
BW- plus exact
size of the ball
0.5001" - 0.594"
(12.7 mm - 15.09 mm)
12"
(305 mm)
0.187"
(4.75 mm)
$96.30 ea.
BW- plus exact
size of the ball
0.5941" - 1.0"
(15.09 mm - 25.4 mm)
12"
(305 mm)
0.187"
(4.75 mm)
$98.26 ea.

Versatile Inspection Ball Kit

98 Sizes Very Hard Chrome Steel
Part # BK-14 98 Sizes Very Hard Chrome Steel

This inexpensive ball kit contains a wide variety of 98 non standard precision balls. It consists of groups of special ball sizes centered around commonly used fractional inch balls (14 sizes X 7 balls around each size = 98) . These ball sizes reflect the most frequently requested balls for inspection applications.

Each group of seven balls contain a standard nominal fractional size ball as well as one each of a +.002", +.001", +.0005", +.0002", and - .001", - .002".

The balls are precision lapped to meet the A.F.B.M.A. standard Grade 25. They are spherical within 25 millionths of an inch (635 nm). The surface finish is below 1.5 micro inches (38.1 nm) Ra and the exact ball size is within + or - .0001" of an inch (.00254 mm).

The balls are manufactured from chrome alloy steel that is hardened to 62 Rockwell C for wear resistance. This material has a thermal coefficient of expansion equal to 6.3 micro inches per inch per degree Fahrenheit or 11.4 micro meters per meter Centigrade. This matches steel gage blocks and is the same as most iron and steel products.

This ball kit includes the 14 most popular fractional inch sizes from 3/32" ( 2.381 mm ) to 1.00" to ( 25.4 mm ), see Summary / Prices Page.

Each of the 14 fractional groups of balls is packaged together in an individual plastic vial. These plastic vials are housed in a very rugged plastic tray. This tray is placed inside a robust steel shipping and storage case. This large steel case is 12 inches wide by 18 inches long by 3 inches deep.